Переносные контейнеры для хранения электродов с ручным термостатом PSE-24
PSE-24 Контейнер для хранения и прокалки электродов , 230V AC 50/60Hz (PSE-24 Electrode Dry-storage Container, 1ph 230V AC 50/60Hz), артикул 0700100109, - это легкие, удобные и мобильные контейнеры для хранения электродов. Контейнеры оснащены ручным термостатом с широким диапазоном температур. Нагреватель расположен вертикально сверху вниз и полностью изолирован.
- Вместимость 24 кг
- Диапазон температуры 60 - 200 °C
| Технические характеристики | PSE-10 | PSE-24 |
| Входное напряжение | 220 - 240 В | 220 - 240 В |
| Выходная мощность | 400 Вт | 600 Вт |
| Выходной ток | 2 А | 2 А |
| Габариты - Высота | 600 мм | 600 мм |
| Габариты - Диаметр (наружный) | 220 мм | 250 мм |
| Вес | 8 кг | 13 кг |
Информация для заказа
| Информация для заказа | |
| Контейнер для хранения электродов PSE-10, 1ф 230В AC 50/60Гц | 0700100127 |
| Контейнер для хранения электродов PSE-24, 1ф 230В AC 50/60Гц | 0700100109 |
Запасные и изнашиваемые части
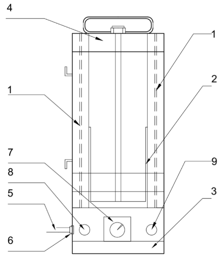
| Запасные и изнашиваемые части | PSE-10 | PSE-24 | |||
| 1 | Нагреватель 230В | 0700100112 | 0700100112 | ||
| 1 | Нагреватель 110В | 0700100113 | 0700100113 | ||
| 1 | Нагреватель 24В | 0700100114 | 0700100114 | ||
| 2 | Лоток съемника 24 кг | - | 0700100115 | ||
| 2 | Лоток съемника 10 кг | 0700100133 | - | ||
| 3 | Нижняя крышка PSE-24 | - | 0700100116 | ||
| 3 | Нижняя крышка PSE-10 | 0700100134 | - | ||
| 4 | Верхняя крышка PSE-24 | - | 0700100117 | ||
| 4 | Верхняя крышка PSE-10 | 0700100135 | - | ||
| 5 | Кабель питания 230В с вилкой | 0700100118 | 0700100118 | ||
| 5 | Кабель питания 110В с вилкой | 0700100119 | 0700100119 | ||
| 5 | Кабель питания 24В с вилкой | 0700100120 | 0700100120 | ||
| 6 | Кабельная муфта | 0700100121 | 0700100121 | ||
| 7 | Термостат | 0700100032 | 0700100032 | ||
| 8 | Патрон предохранителя | 0700100122 | 0700100122 | ||
| 8 | Предохранитель (стекло) 10A | - | 0700100123 | ||
| 8 | Предохранитель (стекло) 5A | 0700100141 | - | ||
| 9 | Сигнальная лампа 230В | 0700100124 | 0700100124 | ||
| 9 | Сигнальная лампа 110В | 0700100125 | 0700100125 | ||
| 9 | Сигнальная лампа 24В | 0700100126 | 0700100126 | ||

Для покупки товара в нашем интернет-магазине выберите понравившийся товар и добавьте его в корзину. Далее перейдите в Корзину и нажмите на «Оформить заказ» или «Быстрый заказ».
Когда оформляете быстрый заказ, напишите ФИО, телефон и e-mail. Вам перезвонит менеджер и уточнит условия заказа. По результатам разговора вам придет подтверждение оформления товара на почту или через СМС. Теперь останется только ждать доставки и радоваться новой покупке.
Оформление заказа в стандартном режиме выглядит следующим образом. Заполняете полностью форму по последовательным этапам: адрес, способ доставки, оплаты, данные о себе. Советуем в комментарии к заказу написать информацию, которая поможет курьеру вас найти. Нажмите кнопку «Оформить заказ».
«Компания ТНД» — официальный дистрибьютор концернов ESAB и GCE KRASS. Мы предлагаем удобные и гибкие способы оплаты, адаптированные как для юридических лиц (организаций), так и для физических лиц.
Для юридических лиц:
- Оплата по безналичному расчёту с НДС. Оформление происходит на основании выставленного счёта, спецификации или договора, который оформляют наши менеджеры.
- После подтверждения оплаты (поступления денежных средств на наш расчётный счёт) возможна отгрузка: самовывоз с нашего склада или доставка через транспортные компании. При оформлении отгрузки предоставляются оригиналы документов — товарная накладная ТОРГ-12 и счёт-фактура.
- Отсрочка платежа: возможна для организаций при заключении долгосрочных договорных отношений.
Для физических лиц:
- При самовывозе в офисе: оплата наличными или картой.
- Онлайн-оплата: по выставленному счёту через сервис электронных платежей Юмани. На сайте Юмани можно оплатить с любой российской банковской карты (Visa, Mastercard, UnionPay, «Мир»), даже если карта не привязана к кошельку. Поддерживаются также платежи из электронных кошельков, через интернет-банкинг, наличными, по QR-кодам и др.
- Рассрочка через Т-Банк: решение по заявке занимает 1–2 минуты, оформление происходит через СМС-подписание без встреч и лишних документов. Условия индивидуальны и зависят от суммы и срока, обычно рассрочка предоставляется на сумму от 3 до 200 тысяч рублей на срок от 3 месяцев до 3 лет.
- Оплата при получении товара: оплата наличными или картой курьерским службам (CDEK, «Достависта») либо через Почту России.
Наши специалисты всегда готовы помочь вам выбрать наиболее удобный способ оплаты и оформить заказ на качественную продукцию ESAB и GCE KRASS.
Обратите внимание, что для некоторых товаров со статусом «НЕТ В НАЛИЧИИ» или «под заказ» менеджер может запросить предоплату для оформления заказа.
Для юридических лиц
(по предоплате или по договору с отсрочкой)
- Доставка по РФ через ТК "Деловые линии" (бесплатно до терминала в Москве)
- Доставка любой транспортной компанией на Ваш выбор
- Доставка по Москве и Московской области
- Бесплатная доставка электродов ОК 46.00 по Москве (внутри МКАД) от 150 кг
- Доставка через СДЭК
- Самовывоз с оптового склада: ул. Плеханова, 12с4
Для физических лиц
(предоплата или оплата при получении)
- Курьер по Москве (внутри МКАД): от 400 руб. (до 10 кг)
- Экспресс-доставка Яндекс GO по тарифам сервиса
- Почта России (не более 100 000 руб.)
- СДЭК (пункты выдачи: склад-склад и курьерская доставка склад-дверь, бесплатная отправка до склада в Москве)
- Транспортные компании: "Деловые линии" или любая на выбор
- Самовывоз из магазина Москва, ул.Электродная 11, оф.107


